您現在所在位置:大田閥門 >> 襯氟閥門(襯里閥門)
設計與制造:BS5156
結構長度:BS5156
法蘭連接尺寸:BS4504、DIN2532、JIS B2212、ANSI B16.1、IS02004
EG41F(無襯里)、EG41Fs(襯氟塑料)堰式隔膜閥專用于控制非腐蝕性或強腐蝕性介質,閥體內腔表面無襯里或覆有可供選擇的各種氟塑料,適用于不同工作溫度和流體管路。
適用溫度:≤85℃、≤100℃、≤120℃、≤150℃、(可按照襯里和隔膜材料)
壓力等級:0.6、1.0、1.6
襯里層:電火花檢測
實驗與檢驗按BS6755標準
公稱壓力:PN 閥體:PN×1.5 密封:PN×1.1
材料:
閥體:鑄鐵、球墨鑄鐵、碳鋼、不銹鋼
閥蓋:鑄鐵、球墨鑄鐵、碳鋼、不銹鋼
襯里:無襯里、氟塑料 隔膜:氟塑料
閥瓣:鑄鐵 閥桿:碳鋼、不銹鋼 手輪:鑄鐵
隔膜閥是一種特殊形式的截斷閥
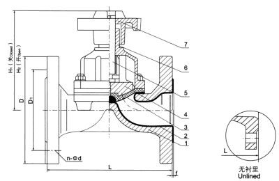
部件列表:1、閥體2、閥體襯里3、隔膜4、閥瓣5、閥桿6、閥蓋7、手輪

| 公稱通徑 | 公稱壓力 | 工作壓力 | L | D | D1 | n-Фd | f | H1 | H2 | D0 | 質量 |
|---|---|---|---|---|---|---|---|---|---|---|---|
| 15 | 1.6 | 1.6 | 108 | 95 | 65 | 4-14 | 2 | 90 | 99 | 66 | 2 |
| 20 | 117 | 105 | 75 | 4-14 | 2 | 93 | 103 | 66 | 3 | ||
| 25 | 127 | 115 | 85 | 4-14 | 2 | 100 | 112 | 66 | 4 | ||
| 332 | 146 | 140 | 100 | 4-18 | 2 | 127 | 144 | 96 | 6.5 | ||
| 40 | 259 | 150 | 110 | 4-18 | 2 | 136 | 156 | 96 | 7.5 | ||
| 50 | 190 | 165 | 125 | 4-18 | 2 | 151 | 177 | 118 | 10 | ||
| 65 | 1.0 | 1.0 | 216 | 185 | 145 | 4-18 | 2 | 183 | 213 | 165 | 16 |
| 80 | 254 | 200 | 160 | 8-18 | 2 | 198 | 273 | 230 | 23.5 | ||
| 100 | 305 | 220 | 180 | 8-18 | 2 | 266 | 320 | 280 | 34 | ||
| 125 | 356 | 250 | 210 | 8-18 | 3 | 319 | 386 | 280 | 44 | ||
| 150 | 406 | 285 | 240 | 8-22 | 3 | 380 | 453 | 368 | 67.5 | ||
| 200 | 0.6 | 521 | 340 | 295 | 8-22 | 3 | 506 | 626 | 400 | 141.5 | |
| 250 | 635 | 395 | 350 | 12-22 | 5 | 598 | 734 | 500 | 229 | ||
| 300 | 0.4 | 749 | 445 | 400 | 12-22 | 5 | 698 | 778 | 560 | 321 | |
| 350 | 787 | 505 | 460 | 16-22 | 5 | 723 | 883 | 560 | 360 | ||
| 400 | 0.25 | 914 | 565 | 515 | 16-26 | 5 | 868 | 1078 | 640 | 584 |
溫馨提示:
本文中所有文字、數據、圖片均只適用于參考。需要查看更多的EG41F(無襯里)、EG41Fs(襯氟塑料)堰式隔膜閥性能參數、結構尺寸參數、價格等詳情,或要求印刷樣本,請聯系我們。