單(雙)沖洗旋塞閥,關閉件或柱塞形的旋轉閥,通過旋轉90度使閥塞上的通道口與閥體上的通道口相同或分開,實現開啟或關閉的一種閥門。旋塞閥的閥塞的形狀可成圓柱形或圓錐形。在圓柱形閥塞中,通道一般成矩形;而在錐形閥塞中,通道成梯形。這些形狀使旋塞閥的結構變得輕巧,但同時也產生了一定的損失。旋塞閥最適于作為切斷和接通介質以及分流適用,但是依據適用的性質和密封面的耐沖蝕性,有時也可用于節流。
當前旋塞閥廣泛地應用于油田開采、輸送和精練設備中,同時也廣泛用于石油化工、化工、煤氣、天然氣、液化石油氣、暖通行業以及一般工業中。

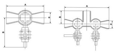
| 公稱通徑 (in) |
150Lb單沖洗 | 公稱通徑 (in) |
150Lb雙沖洗 | |||||
|---|---|---|---|---|---|---|---|---|
| A | B | Ф | A | B | C | Ф | ||
| 2 | 216 | 278 | 54.8 | 2 | 432 | 115 | 278 | 54.8 |
| 3 | 305 | 278 | 82.8 | 3 | 585 | 140 | 293 | 82.8 |
| 4 | 356 | 293 | 108.2 | 4 | 686 | 150 | 308 | 108.2 |
| 6 | 432 | 308 | 161.5 | 6 | 842 | 200 | 320 | 161.5 |
| 8 | 508 | 320 | 211.6 | 8 | 970 | 270 | 270 | 211.6 |
| 10 | 572 | 333 | 264.7 | 10 | 1144 | 350 | 350 | 264.7 |
| 公稱通徑 (in) |
300Lb單沖洗 | 公稱通徑 (in) |
300Lb雙沖洗 | |||||
| A | B | Ф | A | B | C | Ф | ||
| 2 | 216 | 278 | 54.8 | 2 | 432 | 115 | 278 | 54.8 |
| 3 | 305 | 278 | 82.8 | 3 | 585 | 140 | 293 | 82.8 |
| 4 | 356 | 293 | 108.2 | 4 | 686 | 150 | 308 | 108.2 |
| 6 | 432 | 308 | 161.5 | 6 | 842 | 200 | 320 | 161.5 |
| 8 | 508 | 320 | 208 | 8 | 970 | 270 | 270 | 211.6 |
| 10 | 572 | 333 | 260.4 | 10 | 1144 | 350 | 350 | 264.7 |
根據旋塞閥的結構特點和設計上所能達到的功能,建議按下列原則選用:
主營產品:氣動調節閥 - 電動調節閥 - 自力式調節閥
版版權所有 © 上海大田閥門管道工程有限公司
地址:上海市浦東新區川宏路528號宏圖大樓5樓
